EVO视讯官网

  • 江西EVO视讯官网铜业科技有限公司-全国铜板带十强企业

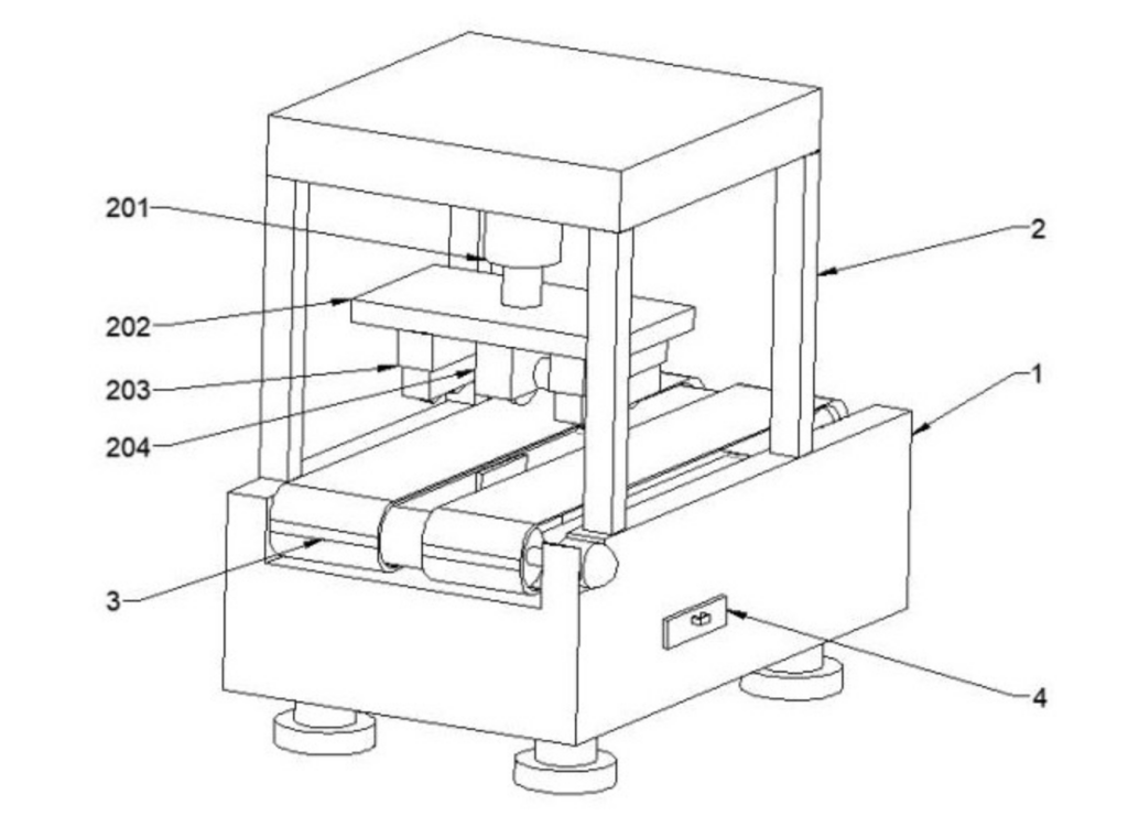
江西EVO视讯官网铜科攻克切割技术难题 新型铜板加工切割装置获国家专利授权

19884357819
41289941